随着站群对SEO优化的效果越来越显著,许多站长都选择站群服务器来建站,其中香港站群服务器所占比例最大。Megalayer主机商作为出色的国外主机商,提供优质的美国、香港服务器以及站群服务器等产品服务在国内很受欢迎。近期小编入手了一台Megalayer香港站群服务器E5-2450L方案,下面就对其做个综合评测,分享数据以供大家参考。
Megalayer香港站群服务器目前共提供四种租用方案,采用的都是1T HDD/ 240G SSD硬盘,具体方案配置如下:
| 方案 | 内存 | 硬盘 | 带宽 | IP | 价格/月 | 购买链接 |
| E3-1230 | 8G | 1T HDD/ 240G SSD | 15M全向带宽 | 5(/29)+1/2C(/25) | 1650元 | 官网购买 |
| 2*E5-2450 | 16G | 1T HDD/ 240G SSD | 15M全向带宽 | 5(/29)+1/2C(/25) | 1950元 | 官网购买 |
| E5-2660 | 16G | 1T HDD/ 240G SSD | 15M全向带宽 | 5(/29)+1/2C(/25) | 2250元 | 官网购买 |
| 2*E5-2660 | 32G | 1T HDD/ 240G SSD | 15M全向带宽 | 5(/29)+1/2C(/25) | 2500元 | 官网购买 |
1、CPU和I/O读写测试:

2、CPU现成内存测试:

3、全国PING值延迟测试:

4、三网去程路由跟踪测试:
电信

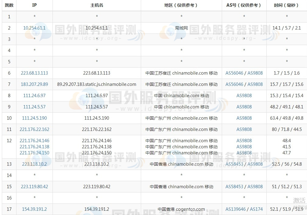
移动

联通

5、UnixBench跑分测试:


相关推荐:《几款性价比高的香港站群服务器租用推荐》























