尽管疫情的发生给大多数行业带来了很大的影响,但是互联网行业受的冲击还是比较小的,并且还创造了机遇,尤其是对做海外贸易的企业来说,租用海外服务器来扩展外贸业务的比比皆是,香港服务器就作为其中热门服务器之一。BlueHost香港服务器位于最顶级的Telehouse机房,配备的顶级硬件设施,采用最新的最好的超级刀片服务器,性能好且稳定,今天小编就入手了一台热销的Standard方案中E3-1265v3系列,本文就对其进行全方面评测,评测数据仅供参考。
BlueHost香港服务器租用方案推荐
| 方案 | 型号 | CPU | 内存 | 空间 | 流量 | 带宽 | 操作系统 | 价格/月 |
| Basic | E3-1220v3 | 3.1GHz 四核 | 6GB | 1000GB | 不限 | 5M | Linux | 599元 |
| Standard | E3-1265v3 | 2.5GHz 四核 | 14GB | 1000GB | 不限 | 10M | Linux | 799元 |
| Elite | E3-1265v3 | 2.5GHz 四核 | 22GB | 2000GB | 不限 | 10M | Linux | 999元 |
| Pro | E3-1271v3 | 3.6GHz 四核 | 30GB | 2000GB | 不限 | 10M | Linux | 1099元 |
| DSHK1 | E3-1220v3 | 3.10 GHz 四核 | 4 GB | 5 MBps | 不限 | 5M | Windows | 599元 |
| DSHK2 | E3-1265v3 | 2.50 GHz 四核 | 8 GB | 1000GB | 不限 | 10M | Windows | 699元 |
| DSHK3 | E3-1265v3 | 2.50 GHz 四核 | 16 GB | 2000GB | 不限 | 10M | Windows | 999元 |
| DSHK4 | E3-1271v3 | 3.60 GHz 四核 | 28 GB | 2000GB | 不限 | 10M | Windows | 1299元 |
《点击链接优惠购买》
BlueHost香港服务器E3-1265v3系列性能速度测试一、CPU和I/O读写测试:

二、网络上传下载速度测试:

三、CPU内存现成测试:


四、全网PING值延迟测试:

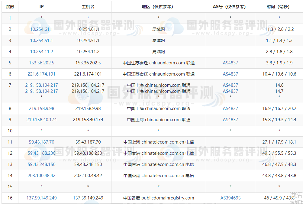
五、三网去程路由跟踪测试:
电信

移动

联通

六、三网回程路由跟踪测试:
电信


移动


联通


七、跑分测试:


总来而言,以上就是关于BlueHost香港服务器E3-1265v3系列方案的综合评测,访问速度很快,尤其电信走的是CN2线路,全新配置、流畅运行,整体效果很好。临近国庆佳节,BlueHost主机商也是推出了国庆特惠活动,详情可点击:《BlueHost国庆特惠 美国/香港虚拟主机全场五折起》





















